地址:北京市海淀区学院路30号
邮编:100083
友情链接
版权所有©2025北京科技大学 建设与技术支持:信息化建设与管理办公室 京公网安备:110402430062京ICP备:13030111号-1
教材和教改论文及教改项目
1 团队教师编写教材情况



2 团队教师发表教学论文情况
表1. 团队教师发表教学论文目录
序号 |
论文或专著名称 |
发表刊物 |
时间 |
主要作者 |
1 |
“三融合,四突出”教学路径探索-物理化学C课程教学创新 |
大学化学 |
2024年 |
杨威,王辉,陈飞武,韦美菊 |
2 |
依托知识图谱和AI实施混合式教学探索 |
大学化学 |
2025年 |
杨威,王辉,韦美菊,陈飞武,王海龙 |
3 |
新工科视域下物理化学实验的延展性探索 |
化学教育 |
2022年 |
韦美菊 |
4 |
基于“三位一体”目标导向的物理化学实验课程思政探索与实践 |
大学化学 |
2024年 |
韦美菊 |
5 |
强电解质稀溶液的依数性公式导出及实验验证 |
大学化学 |
2019年 |
陈飞武 |





3 团队教师主持参与教改项目情况
团队主持、参与教改项目情况(33项,省部级2项和校级100万重大项目1项)
[1] 杨威主持、参加教学类项目(7项)

[2] 王辉主持、参加教学类新项目(5项)

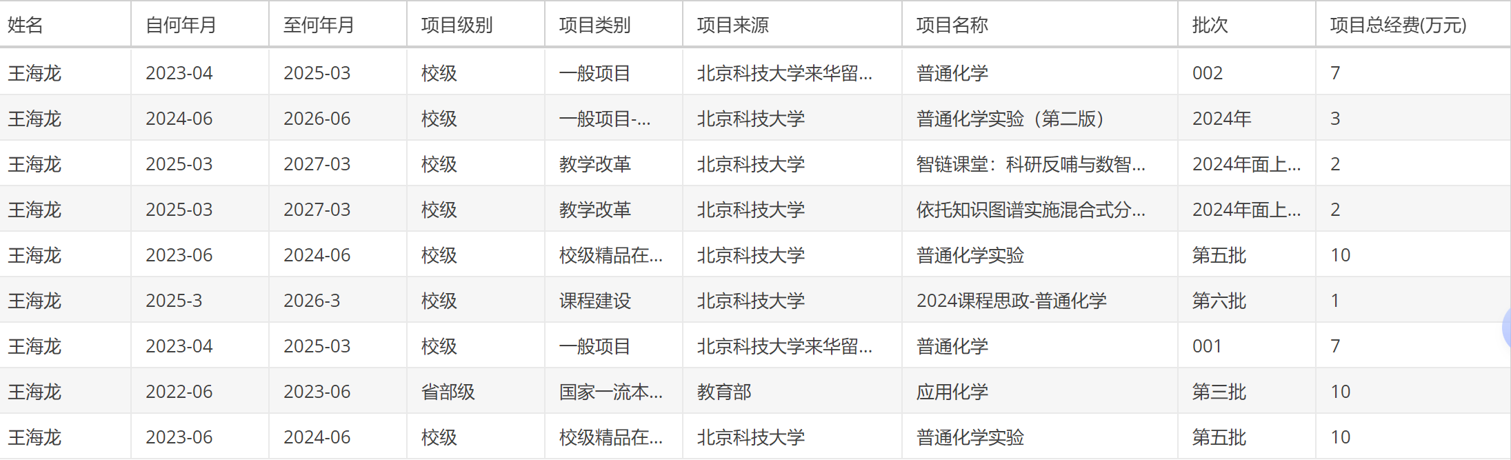
[3] 王海龙主持、参加教学类项目(9项)

[4] 齐冬冬主持、参加教学类项目(4项)

[5] 韦美菊主持、参加教学类项目(15项)

[6] 陈飞武主持、参加教学类项目(5项)

4 团队所依托的省部级平台




地址:北京市海淀区学院路30号
邮编:100083